产品说明
徐州徐工矿业机械取得筛网张紧装置专利解决长时间作业动载荷导致焊缝疲劳断裂问题2025-08-02 05:20:18
金融界2024年11月21日消息,国家知识产权局信息显示,徐州徐工矿业机械有限公司取得一项名为“一种筛分机筛网张紧装置”的专利,授权公告号CN 222020077 U,申请日期为2023年12月。
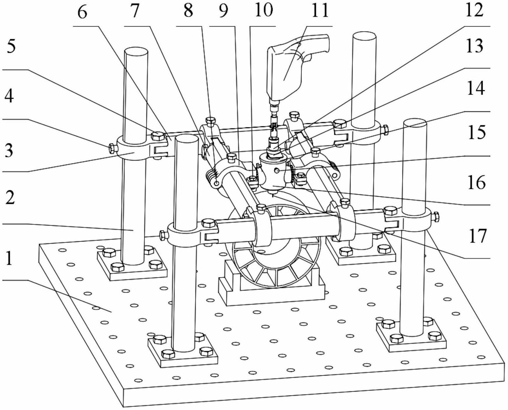
专利摘要显示,本实用新型公开了一种筛分机筛网张紧装置,涉及筛分机技术领域,包括:两组用于固定的筛框固定框、用于支撑减震的张紧横梁和用于调节张紧度的张紧机构;所述全螺纹螺栓贯穿套筒和所述筛框固定框与所述张紧螺母螺纹连接,通过旋转所述张紧螺母与所述全螺纹螺栓螺纹连接上丝或退丝改变所述张紧板与所述筛框固定框之间的间距调节张紧度。本实用新型通过设置止旋槽,全螺纹螺栓装配至其中,通过装配式代替焊接,解决了现有技术中出现的在长时间的作业后因振动、拉伸等因素引起的动载荷导致焊缝疲劳断裂的问题,同时可拆卸进行更换,并且无需繁琐的焊接工序。
TOP

